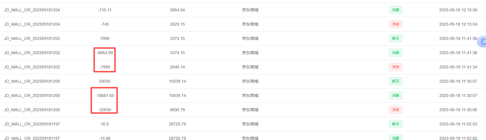
记一次网站安全导致的客户平台金额被刷事件 发布日期: 2025-09-19 16:20 阅读量: 81 来源: 互联网 上一篇: lavarel框架填坑之路 下一篇: 前端解决video层级过高导致页面元素被遮挡的问题 随便看看 让客户留住更长时间访问你的网站 发布日期: 2019-02-18 移动网站需要吸引哪些观众并将其转化为客户 发布日期: 2019-02-18 空壳网站是什么?如何避免成为空壳网站?空壳网站怎么处理? 发布日期: 2019-02-18 单位或网站涉及金融类关键词,办理网站备案注意事项 发布日期: 2019-02-18 个人建设网站有哪些步骤? 发布日期: 2019-02-18
13212709526 13212709526@qq.com 湖北省武汉市青山区白玉山街道 微信扫一扫 关于我 个人信息 工作经验 项目经验 技术相关 网站知识 备案知识 网络营销 工作随记 服务器纪实 前端相关 联系我 联系方式